一、仪器管理员确认收费
1.仪器管理员登录大仪平台,切换角色为仪器负责人。(注:每台仪器进行收费记录首次确认时需打开仪器的修改界面,将仪器隶属机组修改为“现代分析测试中心”后方可进行收费确认)
2.进入财务管理的收费确认模块对使用仪器的收费记录进行收费确认(可逐条也可全选批量确认)。



二、课题组报销
1.课题组负责老师登录平台后切换角色为课题组负责人,在财务管理中进入结算管理,首次登录请在经费管理中点击更新,确认有经费后方可进行报销(注:课题组经费可添加授权给课题组本组成员或其他课题组使用,并限制一定金额)。
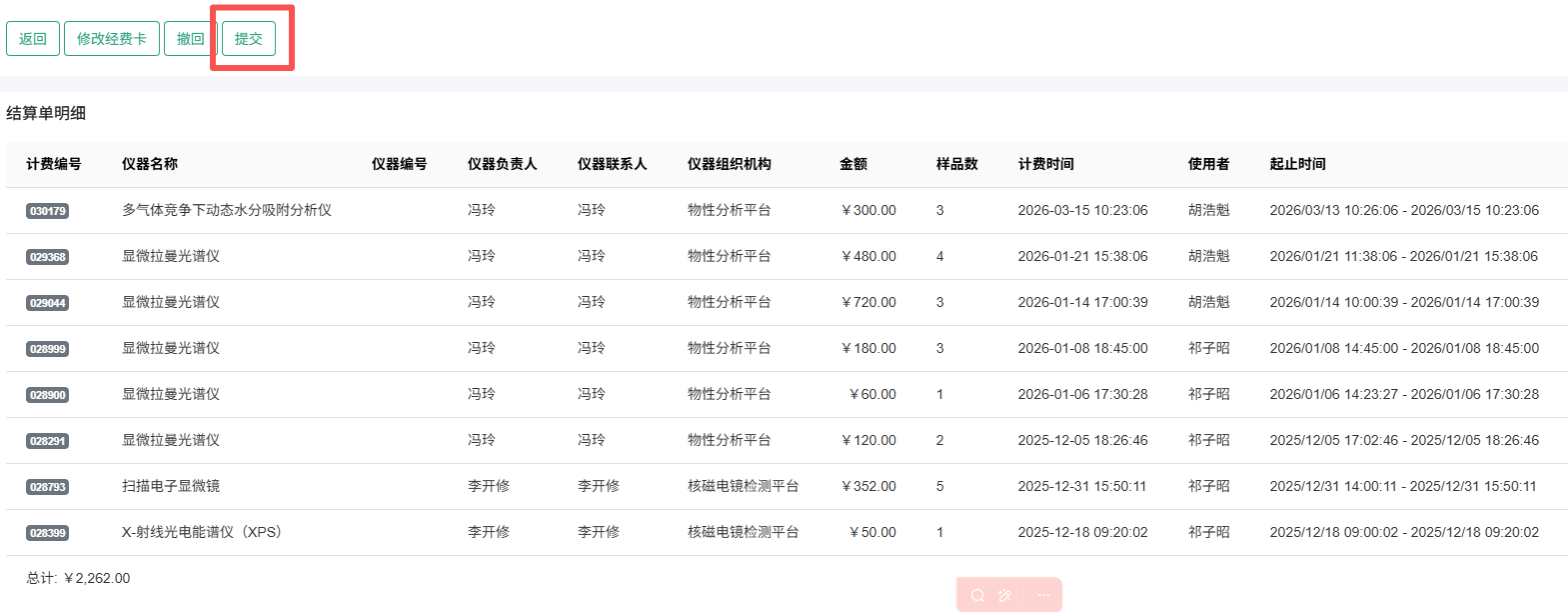
2.进入结算项目,将需要报销的项目先修改经费卡号(可单个修改也可批量修改)后生成报销单(注:如对收费项目有疑问,可点撤回收费联系仪器管理员重新修改后确认)。
3.进入结算单,提交结算单并打印结算单。
4.经办人和经费负责人在打印好的结算单上签字后送现代分析测试中心(躬行楼1201办公室)统一送财务办理报销手续。(注:无须通过财务系统再走网报流程)






